
그만큼 TIP42C TO-220 플라스틱 패키지로 수용된 PNP 전력 트랜지스터를 구체화합니다.이 시리즈에는 네 가지 변형이 포함됩니다. 팁 42,,, TIP42A ,,, TIP42B및 TIP42C.TIP42C는 최대 -100V를 처리 할 수있는 전압 용량으로 눈에 띄며 수많은 스위칭 및 증폭 사용에 대한 탁월한 다목적 성을 제공합니다.NPN 대응 물인 TIP41C와 자주 짝을 이루는 전자 설계에서 균형 잡힌 응용 프로그램을 강조합니다.
최대 65W를 소산하고 -6A의 최대 수집기 전류를 관리하도록 설계된 TIP42C는 전력 집약적 컨텍스트에서 선호됩니다.일반적인 활용에는 사운드 선명도가 지배적 인 오디오 증폭기와 전력 관리 시스템이 포함되어 일관된 에너지 흐름이 포함됩니다.실제 용도로 인해 다양한 온도 조건에서 TIP42C의 안정성으로 인해 전원 공급 장치 내에서 레귤레이터를 전환하는 데 매우 중요합니다.TO-220 패키지는 열 소산을 증가시켜 소비자 전자 및 산업 기계에서 소중한 특성 인 운영 수명을 크게 연장시킵니다.
시스템이 상보적인 트랜지스터 쌍을 요구할 때 TIP42C는 TIP41C와 결합하여 탁월한 선택으로 나타납니다.이 시너지 효과는 회로 설계를 단순화하면서 전반적인 성능을 향상시킵니다.이 페어링은 오디오 증폭 회로의 음질을 향상시켜 오디오 기술의 미묘하면서도 영향을 미칩니다.TIP42 시리즈에서 TIP42C의 주목할만한 전압 용량은 고전압 응용 분야에 이상적입니다.반면, 전압 요구가 낮은 프로젝트의 경우 TIP42 및 TIP42A로 충분할 수 있습니다.그러나 더 힘든 요구에 대해 TIP42B 및 TIP42C가 이동 옵션입니다.각 변형은 특정 요구 사항에 적합한 고유 한 속성을 가지고있어 선택 과정을 진지하고 매혹적으로 만듭니다.

|
핀 번호 |
핀 이름 |
설명 |
|
1 |
베이스 |
트랜지스터의 바이어스를 제어하고 사용됩니다.
트랜지스터를 켜거나 끕니다 |
|
2 |
수집기 |
전류가 흐르는 경우 일반적으로 부하에 연결됩니다 |
|
3 |
이미 터 |
전류가 흘러 나오는 곳은 일반적으로 접지에 연결됩니다 |



|
특징 |
사양 |
|
트랜지스터 유형 |
PNP |
|
패키지 유형 |
TO-220 |
|
최대 수집기 전류 (IC) |
-6A |
|
Max Collector-Emitter 전압 (VCE) |
-100V |
|
최대 수집기 기반 전압 (VCB) |
-100V |
|
최대 이미 터베이스 전압 (VEBO) |
-5V |
|
Max Collector 소비 (PC) |
65 와트 |
|
최대 전환 주파수 (FT) |
3MHz |
|
DC 전류 게인 (HFE) |
15-75 |
|
최대 저장 및 작동 온도 |
-65 ~ +150 ° C |
TIP42C 시리즈는 PNP-NPN 보완 설계를 도입하여 회로 효율성과 성능을 크게 향상시킵니다.이 시리즈에서 발견 된 것과 같은 보완적인 쌍은 증폭 및 스위칭 시나리오 모두에서 원활한 작동을 용이하게하여 추가 구성 요소의 필요성을 줄이고 회로 레이아웃을 간소화합니다.
TIP42C 시리즈의 놀라운 이점은 고속 스위칭 기능에 있습니다.이 기능은 최소한의 지연으로 빠른 상태 전환을 지원하며, 모터 제어 및 신호 처리와 같은 빠른 응답 시간을 요구하는 응용 프로그램에 이상적입니다.구성 요소가 전반적인 시스템 효율성과 신뢰성을 신속하게 향상시켜 안정적이고 효율적인 작동이 필요한 전원 공급 장치 회로에 선호되는 선택입니다.
TIP42C 시리즈는 개선 된 HFE 선형성으로 두드러집니다.전류 게인 (HFE)의 선형성 상승은 다양한 운영 조건에 비해 일관된 증폭 특성을 보장합니다.이 신뢰성은보다 예측 가능하고 안정적인 성능으로, 특히 아날로그 신호 처리 및 정밀 계측에 활성화됩니다.실제 응용 분야에서 이는 작동 증폭기와 아날로그 회로가 높은 충실도를 달성하여 처리하는 신호의 무결성을 유지할 수 있음을 의미합니다.
TIP42C 트랜지스터는 현재 이득 범위를 기반으로 분류 된 그룹화 된 HFE 값을 특징으로합니다.이는 설계 프로세스를 단순화하고 개별 테스트 노력을 줄임으로써 일치하는 쌍이 필요한 응용 분야에서 이점을 제공합니다.그룹화 된 HFE 값은 한 쌍의 트랜지스터가 균일하게 작동하도록 보장하며, 차동 증폭기 설계의 침전물 및 기타 대칭 회로 구성.
|
유형 |
매개 변수 |
|
수명주기 상태 |
Active (마지막 업데이트 : 8 개월 전) |
|
공장 리드 타임 |
8 주 |
|
산 |
구멍을 통해 |
|
장착 유형 |
구멍을 통해 |
|
패키지 / 케이스 |
TO-220-3 |
|
핀 수 |
3 |
|
무게 |
4.535924G |
|
트랜지스터 요소 재료 |
규소 |
|
수집기-이미 터 고장 전압 |
100V |
|
요소 수 |
1 |
|
HFEMIN |
15 |
|
작동 온도 |
150 ° C TJ |
|
포장 |
튜브 |
|
JESD-609 코드 |
E3 |
|
부품 상태 |
활동적인 |
|
수분 감도 수준 (MSL) |
1 (무제한) |
|
종료 수 |
3 |
|
ECCN 코드 |
귀 99 |
|
터미널 마감 |
무광택 주석 (SN) |
|
전압 - 정격 DC |
-100V |
|
최대 전력 소산 |
65W |
|
현재 등급 |
-6A |
|
기본 부품 번호 |
팁 42 |
|
핀 수 |
3 |
|
요소 구성 |
하나의 |
|
전력 소산 |
65W |
|
트랜지스터 응용 프로그램 |
전환 |
|
대역폭 제품을 얻습니다 |
3MHz |
|
극성/채널 유형 |
PNP |
|
트랜지스터 유형 |
PNP |
|
수집기 이미 터 전압 (VCEO) |
100V |
|
최대 수집기 전류 |
6A |
|
DC 전류 게인 (HFE) (Min) @ IC, VCE |
15 @ 3A 4V |
|
현재 - 수집기 컷오프 (최대) |
700μa |
|
JEDEC-95 코드 |
TO-220AB |
|
vce 포화 (max) @ ib, ic |
1.5V @ 600MA, 6A |
|
전환 주파수 |
3MHz |
|
수집기 기본 전압 (VCBO) |
100V |
|
이미 터베이스 전압 (VEBO) |
5V |
|
키 |
15.75mm |
|
길이 |
10.4mm |
|
너비 |
4.6mm |
|
SVHC에 도달하십시오 |
SVHC 없음 |
|
방사선 경화 |
아니요 |
|
ROHS 상태 |
ROHS3 준수 |
|
무료로 리드 |
무료로 리드 |
|
부품 번호 |
설명 |
제조업체 |
|
2N2646-JQR-AR1 |
파워 바이폴라 트랜지스터, 10A (IC), 70V V (BR) CEO,
1- 요소, PNP, 실리콘, TO-204AA, 금속, 2 핀, 헤르메틱 밀봉, 금속,
To-3, 2 핀 |
TT 전자 저항기 |
|
2N2646-MODR1 |
10A, 70V, PNP, SI, 전력 트랜지스터, TO-204AA, Hermetic
밀봉, 금속, to-3, 2 핀 |
TT 전자 전력 및 하이브리드 / Semelab Limited |
|
bux66 |
트랜지스터 |
일반 전기 고형 상태 |
|
JAN2N6212 |
트랜지스터, BJT, PNP, 300V (BR) CEO, 2A IC, TO-66 |
Intersil Corporation |
|
MJ2500 |
중간 전력 트랜지스터 보완 실리콘 |
뉴저지 반도체 제품 Inc |
|
2N4240R1 |
5A, 300V, NPN, SI, 전력 트랜지스터, TO-66, TO-66, 2 PIN |
TT 전자 전력 및 하이브리드 / Semelab Limited |
|
2N2647 |
트랜지스터 |
API Technologies Corp |
|
2N2647-JQR-B |
파워 바이폴라 트랜지스터, 10A (IC), 90V V (BR) CEO,
1- 요소, PNP, 실리콘, TO-204AA, 금속, 2 핀, 헤르메틱 밀봉, 금속,
To-3, 2 핀 |
TT 전자 저항기 |
|
2N6313-MOD |
5A, 600V, PNP, SI, 전력 트랜지스터, TO-213AA, 밀폐
밀봉, 금속, to-66, 2 핀 |
TT 전자 전력 및 하이브리드 / Semelab Limited |
|
JAN2N6211 |
전력 바이폴라 트랜지스터, 2A (IC), 225V V (BR) CEO,
1- 요소, PNP, 실리콘, TO-66, 금속, 2 핀, TO-66, 2 핀 |
Microsemi Corporation |
•TIP41C 트랜지스터
TIP41C 트랜지스터는 최대 100V의 수집기-이미 터 전압 (VCE)을 처리하도록 설계되었습니다.성능을 손상시키지 않고 6A의 수집기 전류 (IC)를 관리 할 수 있습니다.이 트랜지스터는 전력을 최대 65W까지 소산 할 수 있으므로 열 관리가 우려되는 응용 분야에 적합합니다.TIP41C는 최대 150 ° C에 도달 할 수있는 접합 온도 (TJ)를 가지며 실질적인 열 응력 하에서 신뢰성을 제공합니다.
스토리지 온도 범위 내에서 -65 ° C ~ 150 ° C에서 작동하면 TIP41C는 가혹한 조건을 견딜 수 있습니다.강력한 구성은 다양한 까다로운 환경에서 기능을 보장합니다.오디오 증폭 및 신호 처리.TIP41C 트랜지스터는 종종 오디오 증폭 시스템에서 사용되는 것을 발견하여 사운드의 선명도와 힘에 기여합니다.모터 제어 응용 분야에서는 운동 속도를 조절하는 데 도움이되며 모터 상태간에 매끄럽고 효율적인 전환을 제공합니다.이 기능은 현재 처리 속성과 밀접한 관련이 있습니다.TIP41C는 고전류 하중을 효율적으로 전환하고 제어하는 능력으로 인해 릴레이 드라이버에서 사용됩니다.전력 관리 능력은 일관된 성능을 보장합니다.
TIP41C를 회로에 통합 할 때는 과열을 방지하기 위해 적절한 방열판을 고려하여 성능과 수명에 영향을 줄 수 있습니다.빠른 전환이 필요한 회로를 설계 할 때는 포화 전압 (VCE (SAT)) 및 스위칭 시간 (TOF 및 TOFF)에주의를 기울이십시오.다양한 작동 조건에서 TIP41C의 안정성을 유지하려면 적절한 바이어스가 필요합니다.안정적인 성능을 보장하기 위해 외부 저항 및 커패시터를 평가하십시오.
TIP42C는 전자 회로 내에서 고출력 응용 분야에서 광범위한 사용을 발견하여 최대 -6A 수집기 전류 및 -100V 수집기 -이미 터 전압을 적절하게 관리합니다.
상당한 전류 및 전압 관리 기능으로 인해 TIP42C는 고출력 스위치 및 릴레이를 주도하는 데 적합한 선택입니다.이러한 애플리케이션에는 모터로의 전력 전달의 정밀도가 성능에 크게 영향을 줄 수있는 모터 제어 시스템이 포함됩니다.예를 들어, 산업 자동화에서 중장기의 작동은 종종 과열 또는 고장에 굴복하지 않고 고 부하를 처리하기 위해 트랜지스터에 의존합니다.
TIP42C는 또한 고전류 오디오 증폭기에 전원을 공급하는 데 효과적이므로 최대 65W의 오디오 증폭을 가능하게합니다.이를 통해 소비자 오디오 시스템에 적합한 명확하고 강력한 사운드 출력을 보장합니다.예를 들어, 이러한 트랜지스터가 제공하는 강력한 증폭은 라이브 콘서트 사운드 시스템에서 위험하므로 오디오 신호가 왜곡없이 향상되도록합니다.
TIP42C는 PNP 바이폴라 접합 트랜지스터로서 특성으로 인해 일반 회로 설계에서 광범위한 사용을 발견했습니다.탄력성을 사용하면 광범위한 전압 및 전류 레벨을 적절하게 처리하여 회로 안정성을 향상시킬 수 있습니다.공통 이미 터 구성에 사용되면 전압 신호의 증폭에 크게 기여합니다.
배터리 충전 애플리케이션에서 TIP42C는 충전 전압 및 전류를 조절하는 데 기본적이며 프로세스가 빠르고 안전합니다.실제 응용 분야의 관찰은 열 관리가 장기간 동안 일관된 성능을 유지하기위한 획기적인 것으로 강조합니다.
TIP42C는 더 높은 전류 이득을 얻기 위해 Darlington 쌍 구성에 효과적인 사용을 찾습니다.이 배열은 입력 전류를 현저하게 증폭시켜 우수한 전류 증폭을 요구하는 응용 분야에 적합합니다.실제 구현에서 방열판을 사용하면 작동 안정성을 유지하고 장치의 수명을 연장시킵니다.

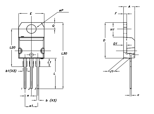
|
어둑한 |
mm |
인치 |
||||
|
최소 |
타이핑 |
맥스 |
최소 |
타이핑 |
맥스 |
|
|
에이 |
4.4 |
4.6 |
0.173 |
0.181 |
||
|
비 |
0.61 |
0.88 |
0.024 |
0.034 |
||
|
B1 |
1.14 |
1.7 |
0.044 |
0.066 |
||
|
기음 |
0.49
|
0.7 |
0.019 |
0.027 |
||
|
디 |
15.25 |
15.75 |
0.6 |
0.62 |
||
|
D1 |
1.27 |
0.05 |
||||
|
이자형 |
10 |
10.4 |
0.393 |
0.409 |
||
|
이자형 |
2.4 |
2.7 |
0.094 |
0.106 |
||
|
E1 |
4.95 |
5.15 |
0.194 |
0.202 |
||
|
에프 |
1.23 |
1.32 |
0.048 |
0.051 |
||
|
H1 |
6.2 |
6.6 |
0.244 |
0.256 |
||
|
J1 |
2.4 |
2.72 |
0.094 |
0.107 |
||
|
엘 |
13 |
14 |
0.511 |
0.551 |
||
|
L1 |
3.5 |
3.93 |
0.137 |
0.154 |
||
|
L20 |
16.4 |
0.645 |
||||
|
L30 |
28.9 |
1.137 |
||||
|
ØP |
3.75 |
3.85 |
0.147 |
0.151 |
||
|
큐 |
2.65 |
2.95 |
0.104 |
0.116 |
||
Stmicroelectronics는 반도체 혁신의 선구자이며, 주로 SOC (System-On-Chip) 기술에서 우수합니다.이 회사는 다양한 마이크로 일렉트로닉스 애플리케이션을 수용 할 수있는 다양한 실리콘 및 시스템 솔루션을 제공합니다.
SOC 기술로 유명한 Stmicroelectronics는 여러 기능을 단일 칩으로 통합하여 효율성과 성능을 향상시킵니다.빠르게 진행되는 기술 환경에서는 작고 안정적인 가공 장치가 탐내고 있습니다.지속적인 혁신과 적응을 통해 STMicroelectronics는 SOC 솔루션이 수년간의 경험을 통해 얻은 지혜를 반영하여 행사로 증가 할 수 있도록합니다.
Stmicroelectronics는 마이크로 컨트롤러, 아날로그 및 혼합 신호 구성 요소, 센서 및 전력 IC에서 광범위한 실리콘 용액을 제공합니다.이러한 요소는 고급 전자 시스템 생성의 핵심이며 원활한 통합 및 최적의 기능을 촉진합니다.그들의 시스템 솔루션은 하드웨어 및 소프트웨어 상호 작용에 대한 깊은 이해를 구현하여 다양한 설정에서 제품을 훌륭하게 수행 할 수 있습니다.Stmicroelectronics의 광대 한 지적 재산 (IP) 포트폴리오는 지속적인 혁신에 대한 약속을 나타냅니다.이 풍부한 특허와 독점 기술은 회사가 고유하고 최신 솔루션을 제공 할 수있게합니다.IP 자산을 전략적으로 활용함으로써 누적 된 전문 지식을 활용하여 지속적인 혁신을 장려하는 것과 같이 제품 개발에서 뚜렷한 이점을 제공합니다.
Stmicroelectronics의 강력한 제조 기능은 일관된 제품 품질과 신뢰성을 보장합니다.최첨단 시설과 엄격한 품질 관리 조치를 활용하여 각 제품은 정확한 산업 표준을 충족합니다.고급 제조 기술의 채택과 지속적인 개선 문화를 통해 회사는 반도체 시장에서 경쟁 우위를 유지할 수 있습니다.
TIP42C는 실리콘 기반 PNP 전력 트랜지스터이며 증폭 및 스위칭 응용 분야의 효율성으로 칭찬을 받았습니다.심각한 전기 특성에는 수집기-이미 터 및 기본 수집기 터미널 전체에 걸쳐 100V 전압 공차가 포함됩니다.이 트랜지스터의 다양성은 수많은 전자 회로에서 선호 옵션으로 배치합니다.
회로에서 TIP42C의 수명은 다양한 모범 사례를 준수하는 것이 적절한 열 관리라는 것을 보장하는 것이 궁극적입니다.잘 적합한 히트 싱크를 사용하면 과열 위험을 줄일 수 있습니다.적절한 기본 저항은 기본 전류를 제어하기 위해 필수적이므로 불필요한 전력 소산을 방지합니다.전기 응력을 방지하기 위해 -6A 및 -100V 하중 제한을 초과하지 않아 트랜지스터의 무결성을 훼손 할 수 있습니다.최대 등급보다 20% 이상 작동 조건을 유지하는 것은 현명한 접근법입니다.이 버퍼는 구성 요소의 수명을 연장하고 전반적인 신뢰성을 강화할 수 있습니다.전자 제품의 실제 경험은 보수적 인 운영 마진이 구성 요소 수명과 시스템 안정성을 모두 촉진한다는 것을 보여줍니다.또한, 스토리지 및 작동 온도가 -65 ° C ~ +150 ° C 범위 내에서 유지되도록하는 것은 트랜지스터의 실리콘 구조를 보존하는 데 필수적입니다.
문의를 보내 주시면 즉시 응답하겠습니다.
10월18일에서
10월18일에서
4월18일에서 147757
4월18일에서 111933
4월18일에서 111349
4월18일에서 83719
1월1일에서 79508
1월1일에서 66894
1월1일에서 63010
1월1일에서 62998
1월1일에서 54081
1월1일에서 52114