
그만큼 2N3906 저전력 증폭 및 전환 작업에서 잘 작동하는 일반적으로 사용되는 PNP 트랜지스터입니다.적당한 전압 레벨과 작은 전류를 처리하도록 설계된이 제품은 기본 핀의 전압에 따라 개방 상태와 폐쇄 상태 사이의 수집기와 이미 터 접합을 토글하여 작동합니다.기본 핀이 접지되면 트랜지스터는 전방 편향 상태에 있으므로 전류가 이미 터에서 수집기로 흐르도록합니다.신호가베이스에 적용되면 역 바이어스 상태로 이동하여 전류 흐름이 중지됩니다.
이득 값이 110에서 300 사이에서,이 트랜지스터는 작은 신호를 효과적으로 증폭시킬 수 있습니다.그러나 수집기에 대한 현재 제한이 있으므로 현재 요구 사항이 200MA 미만으로 유지되는 응용 프로그램에 가장 적합합니다.2N3906에는 두 가지 주요 작동 상태가 있습니다. 포화 상태는 트랜지스터가 완전히 켜져있어 최대 전류 흐름을 허용하고 컷오프는 이미 터와 수집기 사이에 전류가없는 상태로 전적으로 꺼져 있습니다.이러한 특성은 기본 증폭기 또는 간단한 스위치 회로에서 많은 일반 목적 응용 분야에서 다재다능합니다.

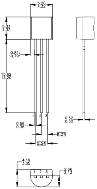
| 핀 번호 | 핀 이름 | 설명 |
| 1 | 이미 터 | 전류는 이미 터를 통해 배수됩니다 |
| 2 | 베이스 | 트랜지스터의 편향을 제어합니다 |
| 3 | 수집기 | 전류는 수집기를 통해 흐릅니다 |



2N3906은 PNP 트랜지스터인데, 이는베이스가 이미 터보다 낮은 전압에있을 때 전류를 전도합니다.이 설계를 통해 이러한 유형의 극성이 필요한 저전력 회로에서 전류 흐름을 효과적으로 제어 할 수 있습니다.
DC 전류 게인 (HFE)이 최대 300 인 경우, 2N3906은 작은 기본 전류를 증폭하여 더 큰 수집기 전류를 생성 할 수 있습니다.이 기능은 적당한 신호 증폭이 필요한 응용 프로그램에 적합한 선택입니다.
트랜지스터는 200MA의 연속 수집기 전류를 처리 할 수 있습니다.이 용량을 사용하면 전류가 안전 범위 내에 남아있는 경우 과열 또는 추가 냉각 조치가 필요하지 않고 저전력 장치를 제어 할 수 있습니다.
5V의 이미 터베이스 전압 (VBE)은 2N3906이 합리적인 전압 범위로 회로를 관리 할 수 있음을 의미하므로 복잡한 조정이 필요하지 않고 일반적인 저전압 응용 프로그램에 적합합니다.
2N3906은 To-92 패키지로 제공되며 작고 빵가드 및 소형 회로에 사용하기에 편리합니다.따라서 공간이 제한된 프로젝트에 쉽게 통합 할 수 있습니다.
Semiconductor 2N3906BU의 비슷한 사양이있는 기술 사양, 기능, 특성 및 구성 요소.
| 유형 | 매개 변수 |
| 수명주기 상태 | Active (마지막 업데이트 : 2 일 전) |
| 공장 리드 타임 | 6 주 |
| 산 | 구멍을 통해 |
| 장착 유형 | 구멍을 통해 |
| 패키지 / 케이스 | TO-226-3, TO-92-3 (TO-226AA) |
| 핀 수 | 3 |
| 무게 | 179mg |
| 트랜지스터 요소 재료 | 규소 |
| 수집기-이미 터 고장 전압 | 40V |
| 요소 수 | 1 |
| HFEMIN | 100 |
| 작동 온도 | -55 ° C ~ 150 ° C TJ |
| 포장 | 대부분 |
| 게시 | 2007 |
| JESD-609 코드 | E3 |
| pbfree 코드 | 예 |
| 부품 상태 | 활동적인 |
| 수분 감도 수준 (MSL) | 1 (무제한) |
| 종료 수 | 3 |
| ECCN 코드 | 귀 99 |
| 터미널 마감 | 주석 (SN) |
| 전압 - 정격 DC | -40V |
| 최대 전력 소산 | 625MW |
| 터미널 위치 | 맨 아래 |
| 현재 등급 | -200MA |
| 빈도 | 250MHz |
| 기본 부품 번호 | 2N3906 |
| 요소 구성 | 하나의 |
| 전력 소산 | 625MW |
| 트랜지스터 응용 프로그램 | 전환 |
| 대역폭 제품을 얻습니다 | 250MHz |
| 극성/채널 유형 | PNP |
| 트랜지스터 유형 | PNP |
| 수집기 이미 터 전압 (VCEO) | 40V |
| 최대 수집기 전류 | 200ma |
| DC 전류 게인 (HFE) (Min) @ IC, VCE | 100 @ 10ma 1v |
| vce 포화 (max) @ ib, ic | 400mv @ 5ma, 50ma |
| 전환 주파수 | 250MHz |
| 수집기 기본 전압 (VCBO) | -40V |
| 이미 터베이스 전압 (VEBO) | -5V |
| Time-Max (Ton) 켜기 | 70ns |
| 키 | 5.33mm |
| 길이 | 5.2mm |
| 너비 | 4.19mm |
| SVHC에 도달하십시오 | SVHC 없음 |
| 방사선 경화 | 아니요 |
| ROHS 상태 | ROHS3 준수 |
| 무료로 리드 | 무료로 리드 |


| 모델 번호 | 제조업체 | 설명 |
| 2N3906D26Z | Fairchild Semiconductor Corporation | 소형 신호 양극 트랜지스터, 0.2A I (C), 40V V (BR) CEO, 1- 요소, PNP, 실리콘, TO-92 |
| 2N3906D27Z | Fairchild Semiconductor Corporation | 소형 신호 양극 트랜지스터, 0.2A I (C), 40V V (BR) CEO, 1- 요소, PNP, 실리콘, TO-92 |
| 2N3906RLRMG | 반도체에서 | 소형 신호 PNP 양극성 트랜지스터, TO-92 40 V, 0.2A, TO-92 (TO-226) 5.33mm 바디 높이, 2000-FNFLD |
| 2N3906RLRA | 모토로라 반도체 제품 | 소형 신호 양극 트랜지스터, 0.2A I (C), 40V V (BR) CEO, 1- 요소, PNP, 실리콘, TO-92 |
| 2N3906AMO | NXP 반도체 | 트랜지스터 200 MA, 40V, PNP, SI, 소형 신호 트랜지스터, TO-92, BIP 범용 소규모 신호 |
| 2N3906RLRPG | Rochester Electronics LLC | 200MA, 40V, PNP, SI, 소형 신호 트랜지스터, TO-92, CASE 29-11, TO-226, 3 PIN |
| 2N3906G | 마이크로 상업적 구성 요소 | 소형 신호 양극 트랜지스터, 0.2A I (C), 40V V (BR) CEO, 1- 요소, PNP, 실리콘, TO-92, 플라스틱 패키지 -3 |
| 2N3906TA | 반도체에서 | 200 MA, 40 V PNP 소형 신호 바이폴라 접합 트랜지스터, 2000-FNFLD |
| 2N3906STOB | Zetex / Diodes Inc | 소형 신호 바이폴라 트랜지스터, 0.2A I (C), 40V V (BR) CEO, 1- 요소, PNP, 실리콘, TO-92 스타일, E- 라인 패키지 -3 |
• BC157
• BC558
• 2SA1943
• BD140
• S8550
• 팁 127
• 팁 42
2N3906을 사용하는 기본 PNP 회로에서 트랜지스터는 일반적으로 스위치 또는 앰프로 기능합니다.스위치로 작동하기 위해, 이미 터는 +3V와 같은 양의 전압 소스에 연결되고, 푸시 버튼 스위치는베이스에 배치됩니다.버튼을 압박하지 않은 상태에서 전류가 기본으로 흐르지 않아 트랜지스터를 기본적으로 "ON"상태로 유지합니다.이 구성을 사용하면 전류가 수집기로 흐르고 LED와 같은 연결된 구성 요소에 전원을 공급할 수 있습니다.
버튼을 누르면베이스의 전압이 이미 터와 수집기 사이의 전류 흐름을 차단하여 연결된 구성 요소를 효과적으로 끕니다.이 설정은 PNP 트랜지스터의 핵심 원리를 보여줍니다. 기본 전압이 이미 터보다 낮은 한 "on"상태로 유지됩니다.기본 전압이 이미 터를 초과하면 전류 흐름이 차단되어 회로가 "끄기"를 회전시킵니다.

2N3906은 스위칭 및 증폭 작업에 널리 적용됩니다.그 구조는 특히 200mA 전류 제한 내에서 작동 할 때 고전압, 저전류 하중을 전환하는 데 이상적입니다.일관되고 낮은 수준의 증폭이 필요한 회로에 사용할 수 있지만, 이득 제한은 중대한 증폭에 적합하지 않다는 것을 의미합니다.PNP 특성으로 인해 역 중독성 구성이 필요할 때 종종 선택되므로 신호 제어, LED 회로 및 저전류 모터 드라이버를 포함한 다양한 저전력 응용 분야에서 다재다능합니다.
스위치로 2N3906을 작동하는 것은 간단합니다.표준 PNP 구성에서, 트랜지스터는 일반적으로 기본 핀이 접지 될 때 "on"됩니다.이 기본 "On"상태를 사용하면 전류가 이미 터에서 수집기로 흐를 수 있습니다.스위치를 "OFF"하기 위해 전압 소스가베이스 핀에 적용되어 전류가 이미 터와 수집기 사이의 흐름을 방지합니다.이 설계는 복잡한 설정없이 작은 하중을 제어하는 데 도움이됩니다.
스위치 모드에서 트랜지스터를 보호하려면 공식 RB = VBE / IB를 사용하여 계산 된베이스와 제어 입력 사이에 저항을 배치하는 것이 일반적입니다.이 저항은 기본 핀으로 흐르는 전류가 안전한 한계 내에 유지되도록하여 트랜지스터에 대한 잠재적 손상을 방지합니다.이 저항으로 구성되면 2N3906은 작은 모터 또는 LED와 같은 다양한 저류 장치를 안정적으로 제어 할 수 있습니다.

오른쪽의 부품에는 ON 반도체 2N3906BU와 유사한 사양이 있습니다.
| 제조업체 | 2N3906BU | 2N3906TA | 2N3906Tfr |
| 반도체에서 | 구멍을 통해 | 구멍을 통해 | 구멍을 통해 |
| 패키지 / 케이스 | TO-226-3, TO-92-3 | TO-226-3, TO-92-3 (TO-226AA) | TO-226-3, TO-92-3 (TO-226AA) |
| 수집가 이미 터 B. | 40 v | 40 v | 40 v |
| 최대 수집기 Curr. | 200 MA | 200 MA | 200 MA |
| 전환 주파수 | 250MHz | 250MHz | 250MHz |
| 수집가 이미 터 S. | -400 MV | -400 MV | -250 MV |
| Hfe Min | 100 | 100 | 100 |
| 최대 파워 디스이파. | 625 MW | 625 MW | 625 MW |
2N3906은 일반적으로 저전류 고전압 하중을 전환하는 데 일반적으로 사용됩니다.LED 배열 또는 간단한 릴레이 컨트롤과 같이 많은 전력을 끌어 내지 않는 안정적인 스위치가 필요한 회로에 이상적입니다.
적당한 게인을 사용하면 저전력 오디오 회로 및 기타 작은 증폭 설정에서 신호를 증폭시킬 수 있습니다.고출력 증폭에는 적합하지 않지만 더 작고 일관된 신호 부스트에 적합합니다.
PNP 설계는 2N3906을 인버터 및 컨버터 회로, 특히 현재 방향 제어가 필요한 경우 유용합니다.전력 관리 설계에서 전환 기능을 지원하고 전류를 전환하도록 설정할 수 있습니다.
트랜지스터는 LED 또는 램프를 플래시하도록 설계된 회로에도 사용할 수 있습니다.입력 신호를 기반으로 전류 흐름을 제어함으로써, 표시등 또는 경고 신호에 유용한 간단한 플래셔 효과를 만듭니다.
더 높은 게인이 필요한 응용 분야의 경우, 2N3906은 Darlington 구성에서 다른 트랜지스터와 쌍을 이룰 수 있습니다.이 설정은 전류를 더욱 증폭시켜 성능이 우수한 상태에서 약간 더 큰 하중을 구동 할 수 있습니다.



널리 알려진 제조업체 인 반도체에서 효율적인 전력 및 신호 관리 솔루션을 제공하는 데 중점을 둡니다.2N3906을 포함한 제품은 자동차 및 통신에서 컴퓨팅, 소비자 전자 제품 및 산업 시스템에 이르기까지 광범위한 응용 프로그램의 요구를 충족하도록 설계되었습니다.Semiconductor의 혁신과 품질에 대한 헌신으로 유명한 Semiconductor는 전 세계 엔지니어와 디자이너가 효과적이고 지속 가능한 솔루션을 만들기 위해 사용하는 신뢰할 수있는 구성 요소를 제공합니다.전력 효율성에 중점을두면 여러 산업 분야의 환경 친화적 및 에너지 절약 프로젝트를 지원하는 데 도움이됩니다.
문의를 보내 주시면 즉시 응답하겠습니다.
2N3906BU 트랜지스터에는 3 개의 핀이 있으며,이 핀은 이미 터,베이스 및 수집기입니다.
2N3906BU는 다양한 조건에서 사용을 지원하는 -55 ° C ~ 150 ° C의 온도 범위 내에서 작동합니다.
2N3906은 PNP 바이폴라 정션 트랜지스터로 베이스가 이미 터보다 낮은 전압에있을 때 전류 흐름.
2N3906은 적당히 빠른 속도로 작동하므로 회로의 빠른 전환 작업에 적합합니다.
2N3906 트랜지스터는 회로 구성에 따라 스위치 또는 앰프로 일반적으로 사용됩니다.
2N3906은 높은 수집기 대 이미 터 전압을 가지므로 저전류 응용 분야에서 더 높은 전압을 처리 할 수 있습니다.
2N3906의 VBE는 5V이며, 이는베이스를 활성화하고 전류 흐름을 허용하는 데 필요한 전압을 정의합니다.
2N3906은 두 가지 주요 지역에서 작동합니다 : 포화 영역, 여기 완전히 켜져 있고 컷오프 영역이 완전히 꺼져 있습니다.
11월14일에서
11월14일에서
4월18일에서 147757
4월18일에서 111932
4월18일에서 111349
4월18일에서 83719
1월1일에서 79508
1월1일에서 66894
1월1일에서 63010
1월1일에서 62997
1월1일에서 54081
1월1일에서 52114