
복잡한 프로그래밍 가능한 논리 장치 (CPLD)의 지배 내에서, 지배적 인 상호 연결 매트릭스를 통해 짜여진 프로그래밍 가능한 논리 매크로 셀의 정교한 태피스트리를 발견합니다.이 매크로 셀 (MC) 및 입력/출력 (I/O) 장치 라인을 사용하면 회로를 방어 적으로 설계하여 고유 한 기능을위한 구조를 구성 할 수 있습니다.복잡한 상호 연결 타이밍으로 당황한 장치와 달리 CPLD는 부동 금속 와이어를 사용합니다.이 특성은 일관되고 예측 가능한 시계 동작을 부여하여 타이밍 예측을보다 신뢰할 수 있고 정확하게 만듭니다.
1970 년대는 프로그래밍 가능한 논리 장치 (PLD)의 출현을 예고하여 프로그래밍 가능한 매크로 유닛으로의 이동을 촉진했습니다.이 교대는 충분한 설계 유연성을 도입하여 정적 디지털 회로와 구별되는 유틸리티가 처음에는 단순한 회로로 제한되었습니다.1980 년대 중반 CPLD의 출현은이 환경에 혁명을 일으켜 복잡한 회로 설계를위한 길을 열었습니다.그 이후로, 그들은 네트워킹, 자동차 전자 제품, CNC 가공 및 항공 우주 시스템과 같은 산업의 직물에 직접 짜여져 있습니다.CPLD가 한때 세심한 수동 노동을 요구하는 프로세스를 단순화하는 방식을 회상 할 수있어 효율성이 뛰어난 도약을 표시합니다.
CPLD는 적응 형 프로그래밍, 광범위한 통합, 신속한 개발 기능 및 광범위한 적용 가능성과 경제적 생산 비용을 통해 자신을 구별합니다.그들은 최소한의 하드웨어 경험을 가진 사람들에게 호소하며 철저한 테스트가 필요하지 않은 신뢰할 수 있고 안전한 제품으로 사용됩니다.대규모 회로 설계에서의 능력에 대한 증거로서, CPLD는 프로토 타입 개발에 핵심적인 역할을하며 10,000 대 미만의 실행을 수행하여 유용한 역량을 구현합니다.CPLD가 진화하는 프로젝트 요구에 적응하는 능력은 종종 동적 환경에서 실제 다양성을 강조하여 감사를 얻습니다.
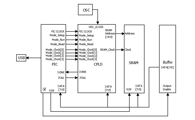
이러한 통합 회로를 사용하면 개발 플랫폼에서 회로도 및 하드웨어 설명 언어를 사용하여 요구에 맞는 논리 기능에 대해 자세히 설명 할 수 있습니다.예를 들어, 응답기, 회로도 및 하드웨어 설명을 설계 할 때 컴퓨터에서 준비 및 컴파일됩니다.다운로드 케이블을 사용하여 코드는 테스트, 문제 해결 및 설계 강화로 구성된 시스템 내 프로그래밍을 위해 CPLD로 전송됩니다.성공적으로 제작 된 디자인은 CPLD 칩을 복제하여 대량 생산합니다.신호등 시스템과 같은 프로젝트에서는 집을 재건하기 위해 집을 재건하는 것과 유사하게 설계 프로세스를 반복하는 것이 필수가됩니다.이 반복적 인 방법론은 종종 기술과 자신감을 모두 향상시켜 마스터 링을위한 토대를 마련합니다.
수년 동안 Altera, Lattice 및 Xilinx와 같은 회사는 CPLD의 저명한 라인을 발표했습니다.주목할만한 예에는 Altera 's가 포함됩니다 EPM7128S, 격자 LC4128V및 Xilinx XC95108 .이 모델들은 다양한 글로벌 응용 프로그램에서 두드러진 역할을 발견했습니다.이러한 별개의 제품으로 일할 수있는 특권을 가진 사람들은 특정 기능을 최적화하는 미묘하지만 강력한 차이점에 대해 종종 언급합니다.이는 특정 프로젝트 요구에 의해 영향을받는 미세한 선택 프로세스를 반영하며, 각 변형은 고유 한 호소력을 갖습니다.
|
측면 |
cpld |
FPGA |
|
논리적 행동 형성 |
제품 용어 구조를 사용하여 논리적 행동을 형성합니다.
예 : 격자 ISPLSI 시리즈, XilInx XC9500 시리즈, Altera Max7000s
시리즈, Lattice Mach 시리즈 |
테이블 조회 방법을 사용하여 논리적 동작을 형성합니다.
예 : Xilinx Spartan 시리즈, Altera Flex10K, ACEX1K 시리즈 |
|
적당 |
알고리즘 및 조합 로직에 적합합니다
제한된 트리거와 풍부한 제품 용어로 더 좋습니다 |
순차적 논리에 적합하면 더 잘 작동합니다
트리거가 풍부한 구조 |
|
타이밍 지연 |
연속 배선 구조는 균일하고 제공합니다
예측 가능한 타이밍 지연 |
세그먼트 화 된 배선 구조는 예측할 수없는 타이밍으로 이어집니다
지연 |
|
프로그래밍 유연성 |
고정 된 내부 회로는 프로그래밍을 위해 수정됩니다.
로직 블록 수준 프로그래밍이 사용됩니다 |
내부 배선은 프로그래밍을 위해 수정되었습니다.논리
게이트 레벨 프로그래밍은 더 큰 유연성을 허용합니다 |
|
완성 |
FPGA에 비해 낮은 통합 |
보다 복잡한 배선 구조와 더 높은 통합
논리 구현 |
|
사용 편의성 |
E2PROM 또는 FastFlash를 통해 프로그래밍과 함께 사용하기 쉽습니다.
외부 메모리 칩이 필요하지 않습니다 |
프로그래밍을 저장하려면 외부 메모리가 필요합니다
보다 복잡한 사용으로 이어지는 정보 |
|
속도와 예측 가능성 |
더 빠른 속도와 더 나은 타이밍 예측 가능성
로직 블록 사이의 상호 연결 |
속도가 느리고 예측 가능한 타이밍이 적습니다
게이트 레벨 프로그래밍 및 분산 상호 연결 |
|
프로그래밍 기술 |
E2PROM 또는 플래시 메모리 프로그래밍을 사용합니다.프로그래밍 데이터
시스템에 전원이 꺼진 경우 유지됩니다.a에서 프로그래밍을 지원합니다
프로그래머 또는 시내 |
SRAM 프로그래밍을 기반으로합니다.프로그래밍 데이터는 언제 손실됩니다
시스템은 꺼져 있으며 다시로드해야합니다.동적을 지원합니다
구성 |
|
기밀성 |
더 나은 기밀을 제공합니다 |
더 낮은 기밀성을 제공합니다 |
|
전력 소비 |
일반적으로 더 높은 전력 소비, 특히
더 높은 통합 |
CPLD에 비해 전력 소비가 낮습니다 |
CPLDS (Complex Programble Logic Devices)가 어떻게 프로그래밍되는지 분석하는 것이 다목적 하드웨어 솔루션을 제작하는 데 초석입니다.CPLD를 프로그래밍하기위한 역사적 방법은 래더 다이어그램 또는 하드웨어 설명 언어 (HDL)에 의존했으며 Verilog HDL 및 VHDL이 주요 선택입니다.선택된 언어는 설계 전략과 구현의 운영 효율성을 모두 형성 할 수 있습니다.
• Verilog HDL: Verilog HDL은 Digital Logic Design에 사용되는 방법론을 반영하여 간단한 구문 및 강력한 시뮬레이션 기능으로 소중히 여겨집니다.EDA (Electronic Design Automation) 도구와 통합하면 합성 및 시뮬레이션을 완벽하게 수행 할 수 있습니다.Verilog의 C- 유사 구문은 프로그래밍 배경을 가진 사람들의 진입 장벽을 낮추는 것으로 관찰되어 광범위한 산업 분야에서 설계에서 배포까지의 여정을 서두르고 있습니다.
• VHDL: VHDL은 HDL 프로그래밍을위한보다 정교하고 표현적인 옵션을 제공합니다.그것은 종종 세심한 문서화와 엄격한 유형 확인, 항공 우주 및 방어 산업에서 가치가있는 특성을 요구하는 프로젝트의 선택입니다.소규모 프로젝트에서 VHDL의 잠재적 복잡성에도 불구하고, 훈련 된 구조는 안전이 지배적 인 환경에서 매우 신뢰할 수있는 설계의 생성을 지원합니다.
문의를 보내 주시면 즉시 응답하겠습니다.
12월29일에서
12월29일에서
4월18일에서 147764
4월18일에서 111984
4월18일에서 111351
4월18일에서 83748
1월1일에서 79538
1월1일에서 66949
1월1일에서 63087
1월1일에서 63028
1월1일에서 54092
1월1일에서 52172