
그만큼 Adv7401KSTZ-140 PAL, NTSC 및 SECAM을 포함한 다양한 비디오 형식을 처리하여 디지털 ITU-R BT.656 형식으로 변환하도록 설계된 아날로그 장치의 정교한 비디오 디코더 및 RGB 그래픽 디지타이저입니다.이 칩은 구성 요소 RGB/YPRPB 비디오 신호를 해독하고 75Hz (SXGA)에서 최대 1280 × 1024의 해상도로 RGB 그래픽을 디지털화하는 기능으로 두드러집니다.최대 140MHz의 샘플링 속도로 작동하는 4 개의 10 비트 ADC에 의해 권한이 부여되어 까다로운 애플리케이션을위한 고품질 비디오 출력을 보장합니다.ADV7401 패밀리에는 ADV7401BSTZ-1110 및 ADV7401BSTZ-80과 같은 여러 모델이 포함되어 있으며, 이는 각각 110MHz 및 80 MHz의 최대 ADC 샘플링 속도가 낮은 최대 ADC 샘플링 속도를 지원하므로 특정 해상도 및 성능 요구 사항에 맞는 모델을 선택할 수 있습니다.이러한 유연성으로 인해 Adv7401 시리즈는 강력한 비디오 처리 기능이 필요한 프리미어 선택입니다.
고성능 비디오 디코딩으로 제품 라인업을 향상시키려는 경우 ADV7401KSTZ-140에 대해 대량 주문을하는 것이 좋습니다.

|
핀 번호 |
니모닉 |
유형 |
기능 |
|
5, 11, 17, 40, 89 |
dgnd |
G |
디지털 그라운드. |
|
49, 50, 66 |
agnd |
G |
아날로그 그라운드. |
|
6, 18 |
dvddio |
피 |
디지털 I/O 공급 전압 (3.3V). |
|
12, 39, 90 |
DVDD |
피 |
디지털 코어 공급 전압 (1.8 V). |
|
63 |
AVDD |
피 |
아날로그 공급 전압 (3.3 V). |
|
47, 48 |
PVDD |
피 |
PLL 공급 전압 (1.8 V). |
|
51 |
FB |
나 |
빠른 스위치 오버레이 입력.이 핀은 CVBS간에 전환됩니다
및 RGB 아날로그 신호. |
|
54, 56, 58, 72, 74, 76, 53, 55, 57, 71, 73, 75 |
Ain1에서 Ain12 |
나 |
아날로그 비디오 입력 채널. |
|
42, 41, 28, 27, 26, 25, 23, 22, 10, 9, 8, 7, 94, 93, 92,
91 |
P2 내지 P9, P12 ~ P19 |
영형 |
비디오 픽셀 출력 포트. |
|
33, 32, 31, 30, 29, 24, 14, 13 |
p22 ~ p29 |
I/O |
비디오 입력/출력 포트. |
|
44, 43, 21, 20, 45, 34, 2, 1, 100, 97, 96, 95, 88, 87,
84, 83 |
P0 ~ P1, P10 ~ P11, P20 ~ P21, P31 ~ P40 |
나 |
비디오 픽셀 입력 포트. |
|
3 |
int |
영형 |
방해하다.이 핀은 활성 또는 활성 높이 일 수 있습니다.
SDP/CP 상태 비트가 변경되면이 핀 트리거가 변경됩니다.이벤트 세트
인터럽트를 트리거합니다. 인터럽트는 사용자 제어하에 있습니다. |
|
4 |
HS/CS |
영형 |
HS는 수평 동기화 출력 신호입니다 (SDP 및
CP 모드).CS는 디지털 합성 동기화 신호입니다.
CP 모드에서 선택). |
|
99 |
대 |
영형 |
수직 동기화 출력 신호 (SDP 및 CP
모드). |
|
98 |
필드/드 |
영형 |
필드 동기화 출력 신호 (모든 인터레이스 비디오
모드).이 핀은 CP 모드에서 데이터 활성화 신호 (DE)로 활성화 될 수 있습니다.
HDMI/DVI TX IC에 직접 연결할 수 있습니다. |
|
81, 19 |
SDA1, SDA2 |
I/O |
I²C 포트 직렬 데이터 입력/출력 핀.SDA1은 데이터입니다
제어 포트의 라인과 SDA2는 VBI 읽기 백의 데이터 라인입니다.
포트. |
|
82, 16 |
SCLK1, SCLK2 |
나 |
I²C 포트 직렬 클록 입력 (400 kHz의 최대 클록 속도).
SCLK1은 제어 포트의 클럭 라인이고 SCLK2는 클럭 라인입니다.
VBI 데이터 읽기 포트. |
|
80 |
ALSB |
나 |
이 핀은 Adv7401 컨트롤의 I²C 주소를 선택합니다.
VBI 읽기 포트.ALSB는 로직 0으로 설정하여 쓰기 주소를 설정합니다.
0x40의 제어 포트 및 VBI 포트 0x21의 읽기 주소.ALSB
로직 하이로 설정하여 제어 포트 0x42에 쓰기 주소를 설정하고
VBI 포트 0x23의 읽기 주소. |
|
78 |
다시 놓기 |
나 |
시스템 재설정 입력, 활성 낮음.최소 저 재설정 펄스
ADV7401 회로를 재설정하려면 폭이 5ms가 필요합니다. |
|
36 |
LLC1 |
영형 |
LLC1은 픽셀 데이터의 라인 잠금 출력 클럭입니다.
(ADV7401KSTZ-140; 12.825 MHz ~ 110 MHz의 경우 범위는 12.825 MHz ~ 140 MHz입니다.
ADV7401BSTZ-110의 경우;ADV7401BSTZ-80의 경우 12.825 MHz ~ 80 MHz). |
|
38 |
xtal |
나 |
28.63636 MHz 크리스탈에 입력 핀을 입력하거나
외부 3.3 v 28.63636 MHz 클록 오실레이터 소스 to Clock에 의해 과도
Adv7401. |
|
37 |
xtal1 |
영형 |
이 핀은 28.63636 MHz 크리스탈에 연결되거나 허용
3.3 v 28.63636 MHz 클럭 발진기에 대한 연결 사용
Adv7401의 시계.결정 모드에서 결정은 기본이어야합니다. |
|
46 |
ELPF |
영형 |
권장되는 외부 루프 필터는 연결해야합니다
이 ELPF 핀. |
|
70 |
테스트 0 |
NC |
이 핀은 연결되지 않거나 대안으로 묶어야합니다
Agnd에게. |
|
59 |
테스트 1 |
영형 |
이 핀은 연결되지 않아야합니다. |
|
15 |
sfl/sync_out |
영형 |
서브 캐리어 주파수 잠금 (SFL).이 핀에는 a가 포함되어 있습니다
서브 캐리어 주파수를 잠그는 데 사용할 수있는 직렬 출력 스트림
이 디코더는 모든 아날로그 장치 디지털 비디오 인코더에 연결됩니다.
SYNC_OUT는 CP 모드에서만 사용할 수있는 조각 동기화 출력 신호입니다. |
|
64 |
refout |
영형 |
내부 전압 참조 출력. |
|
65 |
CML |
영형 |
내부 ADC의 공통 모드 레벨 핀 (CML). |
|
61, 62 |
capy1, capy2 |
나 |
ADC 커패시터 네트워크. |
|
68, 69 |
CAPC1, CAPC2 |
나 |
ADC 커패시터 네트워크. |
|
67 |
편견 |
영형 |
외부 바이어스 설정 핀.권장 사항을 연결하십시오
핀과 접지 사이의 저항 (1.35 kΩ). |
|
86 |
hs_in/cs_in |
나 |
CP 모드에서 디지털 HS로 구성 할 수 있습니다.
5 와이어에서 타이밍을 추출하는 데 사용되는 입력 신호 또는 디지털 CS 입력 신호
또는 4 와이어 RGB 모드. |
|
85 |
vs_in |
나 |
대 입력 신호.5 와이어 타이밍 모드의 경우 CP 모드에서 사용됩니다. |
|
79 |
de_in |
나 |
데이터가 입력 신호를 활성화합니다.24 비트 디지털 입력에 사용됩니다
포트 모드 (예 : DVI RX IC에서 24 비트 RGB 데이터를 처리). |
|
35 |
dclk_in |
나 |
시계 입력 신호.24 비트 디지털 입력 모드에서 사용됩니다
(예를 들어, DVI RX IC에서 24 비트 RGB 데이터를 처리) 및
디지털 CVBS 입력 모드. |
|
52 |
소그 |
나 |
녹색 입력에 동기화됩니다.임베디드 동기화 모드에서 사용됩니다. |
|
77 |
간장 |
나 |
루마 입력에 동기화됩니다.임베디드 동기화 모드에서 사용됩니다. |
• 고속 아날로그-디지털 전환: ADV7401KSTZ-140에는 최대 140MHz의 샘플링 속도에서 작동 할 수있는 4 개의 10 비트 아날로그-디지털 변환기 (ADC)가 장착되어 있습니다.이 기능을 통해 고해상도 비디오 신호를 효과적으로 디지털화 할 수있어 고급 비디오 처리 응용 프로그램에 적합합니다.
• 다목적 아날로그 입력 멀티플렉서:이 장치에는 SCART FAST BLANK 지지대가 포함 된 12 채널 아날로그 입력 멀티플렉서가 있습니다.이 기능을 사용하면 다양한 아날로그 비디오 소스를 원활하게 전환하여 비디오 시스템에 대한 다양한 입력 요구 사항을 수용 할 수 있습니다.
• 포괄적 인 비디오 표준 지원: ADV7401KSTZ-140은 NTSC, PAL 및 SECAM을 포함한 광범위한 비디오 색상 표준을 지원합니다.또한 525p, 625p, 720p 및 1080i와 같은 구성 요소 비디오 형식을 처리하여 다양한 글로벌 비디오 형식 및 해상도와의 호환성을 보장 할 수 있습니다.
• 그래픽 디지털화: 75Hz (SXGA)에서 1280 × 1024의 해상도로 RGB 그래픽을 디지털화 할 수있는 ADV7401KSTZ-140은 고급 감시 시스템 및 디지털 사이 니지와 같은 고해상도 그래픽 처리가 필요한 애플리케이션에 이상적입니다.
• 고급 색상 공간 변환:이 장치는 3 × 3 컬러 공간 변환 매트릭스를 통합하여 YCRCB와 RGB와 같은 다른 색 공간 간의 유연한 변환을 용이하게하고 그 반대도 마찬가지입니다.이 기능은 멀티미디어 애플리케이션에서 색상 정확도와 품질을 유지하는 데 좋습니다.
• 디지털 입력 포트: ADV7401KSTZ-140에는 DVI/HDMI 수신기 ICS의 데이터를 지원하는 24 비트 디지털 입력 포트가 포함되어 있습니다.이 기능은 최신 디지털 비디오 소스와 Chip의 호환성을 향상시켜 광범위한 디지털 멀티미디어 시스템에 통합 할 수 있습니다.
• 프로그래밍 가능한 출력 인터페이스 : 12 비트 4 : 4 : 4 또는 8 비트 4 : 2 : 2 Double Data Rate (DDR) 픽셀 출력 형식으로 설정할 수있는 프로그래밍 가능한 출력 인터페이스를 제공합니다.이러한 유연성은 방송 장비 또는 전자 제품에 관계없이 특정 응용 프로그램 요구를 충족하도록 출력을 조정할 수 있도록합니다.

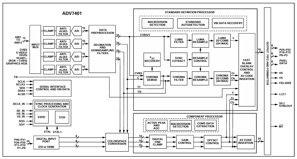
의 다이어그램 Adv7401KSTZ-140 이 고급 비디오 디코더 및 디지털화기의 내부 기능 블록을 보여 주어 다양한 아날로그 비디오 신호를 디지털 출력으로 처리하는 방법을 강조합니다.칩은 다음과 같은 여러 입력 형식을 지원합니다 CVBS,,, S- 비디오,,, YPBPR, 그리고 RGB, 모두 12 개의 아날로그 입력 중에서 선택하는 입력 MUX (AIN1에서 AIN12까지)를 통해 라우팅되었습니다.선택된 각 신호는 a 집게 그리고 안티 알리아 필터 통합 된 10 비트 아날로그-디지털 변환기 (A/D)에 의해 디지털화를위한 신호를 준비합니다.
디지털화되면 신호가 처리됩니다 데이터 전 처리기, 여기에는 포함됩니다 소멸 그리고 다운 샘플링 필터 데이터 속도를 줄이고 추가 디지털 처리를위한 신호를 준비합니다.입력 유형에 따라 비디오는 표준 정의 프로세서 또는 구성 요소 프로세서.그만큼 SD 프로세서 복합재 및 S- 비디오 신호를 처리하여 다음과 같은 작업을 수행합니다 크로마 복조,,, 루마 및 크로마 필터링,,, 빗 필터링, 그리고 리 샘플링, 휘도 및 염색 성분의 명확한 분리를 보장합니다.또한 기능도 포함됩니다 Macrovision Detection 그리고 VBI 데이터 복구.
구성 요소 비디오의 경우 구성 요소 프로세서 같은 운영에 대한 책임이 있습니다 제어를 얻습니다,,, 오프셋 보정, 그리고 활성 피크 그리고 AGC 조정.포함됩니다 CGMS 그리고 Macrovision 사본 보호 규정 준수를위한 데이터 감지.또한 있습니다 Colorspace 변환 적응합니다 YCBCR 또는 RGB 필요한 출력 형식에 대한 신호.처리 된 모든 신호는 출력 FIFO 그리고 형성자, 디지털 픽셀 데이터로 출력하기 전에 정렬, 포맷 및 동기화 된 위치와 다음과 같은 동기화 신호 HS,,, 대,,, 필드/드, 그리고 다른 사람들.다이어그램은 또한 지원을 보여줍니다 DVI 또는 HDMI 8 비트 디지털 포트를 통한 입력 및 내장 연속물 인터페이스 제어 통신 및 구성 용.
|
유형 |
매개 변수 |
|
제조업체 |
아날로그 장치 Inc. |
|
포장 |
쟁반 |
|
부품 상태 |
활동적인 |
|
기능 |
디코더, 디지타이저 |
|
응용 프로그램 |
소비자 비디오 |
|
표준 |
ITU-R BT.656, NTSC, PAL, SECAM |
|
제어 인터페이스 |
연속물 |
|
전압 - 공급 |
1.65V ~ 3.6V |
|
장착 유형 |
표면 마운트 |
|
패키지 / 케이스 |
100-lqfp |
|
공급 업체 장치 패키지 |
100-LQFP (14x14) |
|
기본 제품 번호 |
Adv7401 |
고화질 텔레비전 (HDTV)
ADV7401KSTZ-140은 광범위한 비디오 신호를 해독하고 처리하기 위해 LCD, DLP ™, 플라즈마 및 CRT 모델을 포함한 다양한 유형의 HDTV에서 사용됩니다.여러 방송 표준 및 형식을 처리하는 능력은 텔레비전 기술의 광범위한 호환성과 고품질 비디오 출력을 보장하는 데 중요한 구성 요소가됩니다.
프로젝터
이 비디오 디코더는 LCD 및 DLP 프로젝터 모두에서 필수적이며 비디오 처리 기능을 향상시킵니다.이를 통해 프로젝터는 고해상도 컨텐츠를 정확하게 렌더링 할 수 있으므로 홈 시어터 설정 및 전문 프레젠테이션 환경 모두에 이상적입니다.
개인 비디오 레코더 (PVR)가 포함 된 셋톱 박스 (STB)
셋톱 박스에서 ADV7401KSTZ-140은 다양한 비디오 형식의 디코딩을 용이하게하여 다른 소스에서 컨텐츠를보고 기록합니다.이 기능은 개인 비디오 레코더의 기능, 유연한 시청 및 녹화 옵션의 기능을 지원합니다.
오디오 비디오 수신기 (AVRS)
칩은 강력한 비디오 디코딩 기능을 오디오 관리와 통합하여 오디오 비디오 수신기를 향상시킵니다.이 통합은 홈 엔터테인먼트 시스템에 사용되는 AVR에 적합하며 단일 장치에서 완벽한 오디오 및 비디오 경험을 제공합니다.
multiformat 스캔 변환기
ADV7401KSTZ-140은 Multiformat 스캔 변환기에서 다양한 형식과 해상도 사이에서 비디오 신호를 변환하는 데 도움이됩니다.이 응용 프로그램은 다양한 디스플레이 기술 및 표준에서 호환성을 보장하고 비디오 품질을 유지하는 데 좋습니다.
점진적인 스캔 입력 지원이있는 DVD 레코더
DVD 레코더에서 ADV7401KSTZ-140은 들어오는 비디오 신호를 디코딩하고 디지털화하여 프로그레시브 스캔 입력을 지원함으로써 역할을합니다.이 기능을 통해 DVD 레코더는 고품질 비디오 컨텐츠를 캡처하고 저장하여 전반적인 레코딩 품질을 향상시킬 수 있습니다.
1. 적절한 기본 모드 (Prim_Mode) 및 비디오 표준 (VID_STD)을 선택하십시오.: 기본 모드 및 비디오 표준 선택은 ADV7401KSTZ-140이 들어오는 비디오 신호를 해석하는 방법을 결정하므로 중요합니다.Prim_Mode 레지스터는 비디오 입력의 기본 형식 (예 : NTSC, PAL)을 식별하고 VID_STD 레지스터는 표준 세부 사항 (예 : 525I, 625i)을 지정합니다.이러한 레지스터를 올바르게 설정하면 비디오 디코더가 프레임 속도 및 해상도와 같은 입력 신호의 특정 속성을 처리 할 수 있습니다.
2. 래치 시계 구성 (latch_clk): 래치 클록 설정은 비디오 데이터 처리를 동기화하는 데 중요합니다.Latch_clk 레지스터를 프로그래밍하면 입력 비디오의 픽셀 클록 주파수와 일치하도록 데이터 래치 타이밍을 조정합니다.이 단계는 비디오 디코더가 타이밍 문제 나 데이터 손상을 피하기 위해 적절한 시간에 각 픽셀을 올바르게 캡처하고 처리하는지 확인하는 데 중요합니다.
3. PLL 분배기 비율을 설정합니다:이 단계에는 주어진 입력 주파수로부터 올바른 픽셀 클록 출력을 생성하기 위해 PLL (위상 잠금 루프) 분배기 비율을 수동으로 설정하는 것이 포함됩니다.수동 컨트롤 (PLL_DIV_MAN_EN)을 활성화하고 PLL_DIV_RATIO를 프로그래밍하면 출력 픽셀 클럭을 미세 조정하여 디스플레이 또는 추가 처리 시스템의 특정 요구 사항과 일치 할 수 있습니다.이 정확한 제어는 비디오 처리 체인의 신호 무결성 및 동기화를 유지하는 데 좋습니다.
4. VCO 범위 및 PLL 충전 펌프 설정을 구성하십시오: VCO (전압 제어 오실레이터) 범위를 설정하고 PLL 충전 펌프 조정은 생성 된 픽셀 클럭의 주파수를 안정화시키는 데 중요합니다.VCO_RANGE 및 PLL_QPUMP 레지스터를 사용하면 다양한 작동 조건에서 PLL의 성능을 최적화 할 수 있으므로 출력 클록이 안정적이며 안정적인 비디오 디코딩에 필요한 사양 내에 있습니다.
5. 프리 런 라인 길이 (FR_LL) 설정: 비디오 입력이 손실되거나 중단되는 상황에서 자유 실행 길이 설정은 프리 런 모드에서 라인 길이를 지정하여 일관된 출력을 유지하는 데 도움이됩니다.예상 라인 기간에 따라 FR_LL 레지스터를 계산하고 설정함으로써 ADV7401KSTZ-140은 올바른 타이밍으로 비디오 프레임을 계속 출력 할 수 있으며, 이는 일정한 비디오 존재가 필요한 애플리케이션에 좋습니다.
다목적 형식 호환성
ADV7401KSTZ-140은 NTSC, PAL, SECAM 및 720P 및 1080I와 같은 고화질 형식을 포함한 다양한 비디오 표준을 지원할 수있는 능력으로 두드러집니다.RGB 그래픽을 최대 SXGA 해상도로 처리 할 수 있습니다.이 광범위한 호환성을 사용하면 형식 제약 조건에 대해 걱정하지 않고 다양한 응용 분야에서 칩을 활용할 수 있습니다.
고품질 비디오 처리
최대 140MHz를 샘플링 할 수있는 4 개의 10 비트 ADC가 장착 된 ADV7401KSTZ-140은 고품질 비디오 처리를 보장합니다.이 기능을 통해 비디오 신호를 향상된 선명도와 색상 정확도로 캡처하고 변환하여 우수한 비디오 재생산을 제공 할 수 있습니다.이는 의료 이미징, 고화질 방송 및 보안 감시 시스템과 같은 비디오 품질이 중요한 응용 분야에서 유리합니다.
단순화 된 시스템 설계
비디오 디코딩 및 RGB 그래픽 디지털화 기능을 단일 칩에 통합하여 Adv7401KSTZ-140은 전체 시스템 설계를 단순화합니다.이 통합은 설계 단계에서 필요한 구성 요소의 수를 줄여서 재료와 조립 측면에서 비용 절감을 초래합니다.또한 상호 연결이 적고 잠재적 인 고장 지점으로 인해 시스템의 신뢰성을 향상시켜 복잡한 멀티미디어 시스템을위한 효율적인 솔루션입니다.
유연한 출력 옵션
이 장치는 유연한 출력 인터페이스를 제공하며 12 비트 4 : 4 : 4 및 8 비트 4 : 2 : 2 Double Data Rate (DDR) 픽셀 형식을 모두 지원할 수 있습니다.이 유연성을 사용하면 디지털 간판에 대한 높은 색상 충실도 또는 비디오 인터페이스에 최적화 된 픽셀 형식이 필요한지 여부에 관계없이 특정 응용 프로그램 요구 사항을 기반으로 출력 형식을 사용자 정의 할 수 있습니다.이 적응성은 ADV7401KSTZ-140이 다양한 최종 USE에서 효과적으로 사용될 수 있도록 보장합니다.
다양한 조건에서 신뢰할 수있는 성능
-40 ° C ~ +85 ° C의 산업용 온도 범위 내에서 작동하도록 설계된 ADV7401KSTZ-140은 다양한 환경 조건에서 안정적으로 수행하도록 구축되었습니다.이 견고성은 실외 응용 프로그램, 산업 환경 및 온도 변동이 문제가되는 기타 시나리오에 사용하기에 적합합니다.운영 환경에서 발생할 수있는 열 문제에 관계없이 장치에 의존하여 일관된 성능을 유지할 수 있습니다.
|
매개 변수 |
치수 (mm) |
|
신체 크기 (전형적인) |
14.00 × 14.00 |
|
신체 크기 (Min - Max) |
13.80 - 14.20 |
|
총 리드 스팬 (Min - Max) |
15.80 - 16.20 |
|
패키지 높이 (최대) |
1.6 |
|
바디 높이 (최소 - 최대) |
1.35 - 1.45 |
|
리드 너비 (Min - Max) |
0.17 - 0.27 |
|
리드 피치 (기본 간격) |
0.5 |
|
리드 스탠드 오프 높이 |
0.05 - 0.15 |
|
리드 각도 범위 |
0 ° - 7 ° |
|
리드 코플라나 리티 (최대) |
0.08 |

Adv7401KSTZ-140은 정교한 Multiformat Video Decoder 및 Graphics Digitizer입니다. 아날로그 장치 Inc., 반도체 산업의 유명한 리더.혁신과 신뢰성으로 유명한 아날로그 장치는 신호 처리 응용 프로그램을위한 광범위한 통합 회로의 개발 및 생산을 전문으로합니다.이 회사의 전문 지식은 ADV7401KSTZ-140이 고성능 비디오 디코딩을 제공하여 멀티미디어 애플리케이션을위한 다양한 비디오 형식 및 표준을 지원할 수 있도록합니다.
ADV7401KSTZ-140은 비디오 신호 처리 작업을 요구하는 강력하고 유연한 솔루션으로 두드러집니다.여러 글로벌 비디오 표준, 고해상도 RGB 디지털화, 프로그래밍 가능한 출력 형식 및 산업 온도 범위에서의 운영을 지원함으로써 소비자 및 전문 환경 모두에서 신뢰성과 성능을 제공합니다.멀티미디어 시스템을 향상 시키거나 설계 아키텍처를 단순화하거나 다양한 형식의 호환성을 보장하는이 디코더/디지털화기는 이점을 제공합니다.ADV7401KSTZ-140은 통합 비디오 애플리케이션을위한 다목적 및 미래 준비 구성 요소로 남아 있습니다.
문의를 보내 주시면 즉시 응답하겠습니다.
ADV7401KSTZ-140은 최대 140MHz에서 작동하는 4 개의 고속 10 비트 ADC의 조합, SXGA 해상도 지원 및 비디오 및 RGB 그래픽 신호를 처리하는 능력과 차별화됩니다.또한 고급 컬러 공간 변환, 매크로 비전 감지 및 유연한 출력 인터페이스를 통합하여 품질과 적응성이 필요한 응용 프로그램에 이상적입니다.
직접적이지 않습니다.ADV7401KSTZ-140에는 기본 HDMI 수신기가 없지만 아날로그 장치 Adv7611과 같은 외부 HDMI 또는 DVI 수신기 IC의 24 비트 디지털 입력 포트를 통해 디지털 입력을 허용 할 수 있습니다.이를 통해이 칩을 효과적으로 사용하여 HDMI 소스를 시스템에 브리지 할 수 있습니다.
기본 디코딩 작업에는 추가 메모리가 필요하지 않지만 시스템 아키텍처에 따라 I²C를 통해 칩을 구성하고 처리 된 비디오 데이터를 통해 칩을 구성하기 위해 마이크로 컨트롤러 또는 호스트 프로세서가 필요할 수 있습니다.고급 시스템에서는 종종 추가 처리를 위해 FPGA 또는 DSP와 짝을 이룹니다.
정확한 값은 ADC 및 출력 포트의 구성 및 사용에 따라 다르지만, 일반적인 전력 소비는 전체 부하에서 0.8W에서 1.2W 사이입니다.적절한 열 소산을 보장하려면 항상 데이터 시트 및 열 설계 지침을 참조하십시오.
예.ADV7401KSTZ-140은 NTSC, PAL 및 SECAM 입력의 자동 비디오 표준 감지를 지원합니다.자동 감지 레지스터를 사용하면 시스템이 사용자 개입없이 형식간에 동적으로 전환 할 수 있으며, 이는 다형 환경에 이상적입니다.
4월3일에서
4월3일에서
4월18일에서 147758
4월18일에서 111958
4월18일에서 111349
4월18일에서 83725
1월1일에서 79510
1월1일에서 66924
1월1일에서 63078
1월1일에서 63017
1월1일에서 54086
1월1일에서 52153